HOME > 製品紹介 > ETERNAシリーズ > ET9


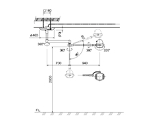
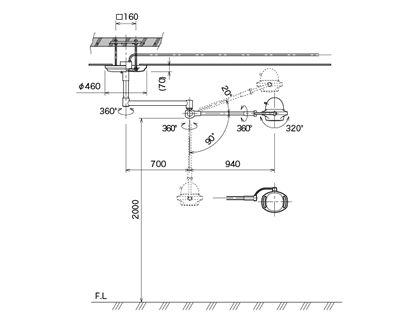
| 最高照度 | 50,000 Lux | 色温度 | 4,000K (±250) | |
|---|---|---|---|---|
| 演色指数 | 93 CRI (±2) | 調光形式 | 灯体調光 | |
| 使用光源 | ハロゲン | 使用電球 | 24V 75W | |
| ランプ数 | 1個 | 入力 | AC100V | |
| 重量 | 22 kg | 設置可能最高天付 | 2,600mm | |
| 設置可能最低天付 | 2,030mm | 消費電力 | 75W |
Copyright © DAI-ICHI SHOMEI CO., LTD. All Rights Reserved

第一照明のHOSPILITEシリーズは医療機器の品質保証のための国際標準規格ISO13485を取得しております。